欢迎进入18新利苹果客户端招生网!

网站首页> 招生信息> 招生动态> 正文
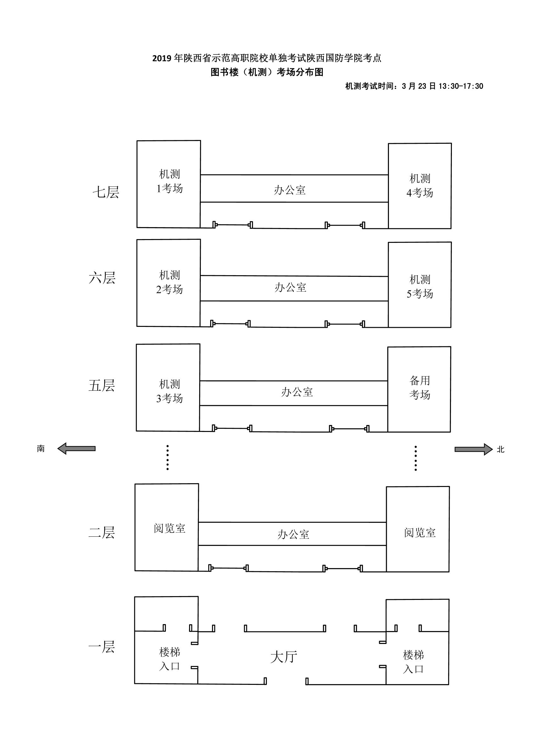
陕西省2019年示范高职单独考试考场分布图
发布时间:2019-03-21 作者:ZHAOBAN 浏览次数:次

各位考生同学:

2019年我省示范高职院校单招考试将于本月23日举行,目前我校已将考场编排完毕,请同学们尽快打印准考证,并根据准考证上的提示做好考前准备工作。

附件:2019年示范高职单独考试考场分布图.pdf

其他相关链接:

2019年单独考试招生现场确认须知(含学校周围住宿及来校路线)

2019年单独考试招生机测大纲

独家权威发布|2019陕西示范高职单独考试招生机测操作流程

扫一扫分享本页
联系我们
北校区(新校区)

地址:西安市鄠邑区人民路8号 邮编:710300

联系电话:02981481111 81480222

咨询QQ:800007590

建设与运维:网络中心

友情链接
招办微信公众:sxgfxyzsb 学校官微公众 : sxgfxywx
Baidu
map